Al final de cuentas los rumores terminaron siendo ciertos y el nuevo Nintendo NX (conocido desde ahora como Nintendo Switch) termino siendo un híbrido entre portátil y consola de sobremesa teniendo un concepto que si bien no es totalmente innovador si está muy bien implementado al poder quitar y poner la «consola» de su base fácilmente.
Nintendo NX
Todas las entradas etiquetadas como Nintendo NX
De acuerdo a reportes de fuentes cercanas a Eurogamer el Nintendo NX seria ni más ni menos que un híbrido entre portátil y consola al poder llevártela a donde sea y jugar como cualquier otro dispositivo portátil pero al llegar a casa podrías quitar montar el aparato en una base y desmontar sus controles para jugar en una televisión lo que uniría por completo el juego portátil y de sobremesa que tan dividido a tenido a Nintendo en los últimos años.
En un evento especial por el 25 aniversario de Sonic The Hedgehog durante la San Diego Comic-Con 2016 se anuncio que se vendrían dos juegos de Sonic que de primeras dejan un buen sabor de boca siendo el primero Sonic Mania un regreso a los raíces de los primeros juegos de Sonic para el Sega Genesis y el segundo Project Sonic 2017 (nombre preliminar) un juego que quiere combinar lo mejor de lo clásico y lo nuevo en un juego que da toda la impresión de ser una secuela de Sonic Generations.
Como todo buen juego de Nintendo el juego The Legend of Zelda: Breath of the Wild también tendrá soporte a figuras amiibo confirmándose tres nuevas figuras; la de «Link arquero«, «Link jinete» y la del «Guardián» enemigo del juego que tendrá el honor de ser la primera figura amiibo que tenga partes movibles (sus tentáculos se podrán mover al gusto).
Continuar leyendo
Nintendo en esta ocasión decidió no hacer una conferencia y solo mostrar un streaming de sus conocidos Nintendo Treehouse durante este E3 lo que sin duda dejo muy decepcionados a todos que esperábamos muchos anuncios y detalles sobre el Nintendo NX pero tendremos que esperar en otra ocasión (esperamos que nos lo compensen con creces después).
En un principio Nintendo tenía planeado solo mostrar gameplay del nuevo juego de Zelda (conocido oficialmente desde el día de hoy como Legend of Zelda: Breath of the Wild) pero decidió que también daría información sobre otros juegos como Pokémon Sun y Pokémon Moon.
Al ser un streaming que correrá a lo largo de este E3 2016 es algo complicado darles un resumen completo de lo que se mostro pero les daremos a continuación los datos más relevantes de esta Nintendo Treehouse (igualmente pueden seguir el streaming en directo aquí):
A Ubisoft no le gustan mucho los cambios y tuvimos de vuelta una conferencia bastante familiar donde el baile y la presentadora Aisha Tyler no podía faltar (creo que hasta la extrañaremos cuando no de una presentación) aunque al igual que las demás conferencias sufrió mucho del «contenido repetido» que nos hace desear que ya dejaran de anunciar juegos en un E3 que no veríamos hasta pasados dos o tres años (a veces más).
Entre lo interesante tuvimos juegos como South Park: Fractured But Whole (que nos regalo varios momentos graciosos), Eagle Flight (que nos hizo sentir un águila volando por París), For Honor (del cual su gameplay brutal y «bonito» promete), Grow Up (juego que promete ser sencillo pero muy entretenido), Trials of the Blood Dragón (que toma las raíces de Far Cry 3: Blood Dragon y las lleva al mundo de Trials), Watch Dogs 2 (del que pese a ya haberse mostrado mucho sigue prometiendo bastante) y entre otros juegos a Steep (del que podemos decir que es bastante ambicioso tratar de recrear una montaña por completo).
Hay más cosas que vale la pena ver así que para su comodidad les dejamos a continuación un resumen con lo mostrado en esta conferencia (aunque si quieren ver la conferencia de primera mano lo pueden hacer aquí):
Según recientes reportes de la The Wall Street Journal los kits de desarrollo de software para el Nintendo NX ya han sido distribuidos a compañías desarrolladoras third-party conteniendo un demo técnico el cual requiere tan cantidad de procesamiento que solo corre en computadoras que contengan chips de alta tecnología (dígase alguna de las más recientes tarjetas de vídeo y procesadores).
Es común que las grandes compañías estén constantemente intentando cosas nuevas y que por ende las patenten «por si acaso» por lo que las siguientes patentes que registro Nintendo bien podrían significar nada pero aun así nos dan una ligera idea de lo que Nintendo podría estar planeando tanto para su próxima consola la NX como la portátil que supuestamente la acompañaría en unos años más (bueno a menos que nos dieran la gran sorpresa de que saliera un nuevo sistema de esta compañía el próximo año pero lo dudamos la verdad).
Después de la desafortunada muerte de Satoru Iwata tanto Genyo Takeda como Shigeru Miyamoto fungieron como presidentes interinos de la compañía pero ahora Nintendo ya tiene a su sucesor formal siendo este Tatsumi Kimishima quien anteriormente fungiera como presidente de Nintendo of America y de The Pokémon Company teniendo como puesto anterior el de director general de Nintendo Co. Ltd (como vemos no salió de cualquier lado).
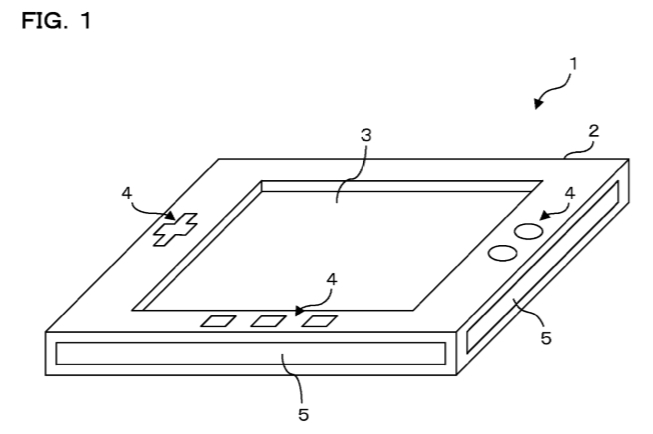
No sabemos aun que tendrá Nintendo entre manos pero días atrás ha registrado una patente en los Estados Unidos de una «consola» que dentro de la misma patente se menciona que no tiene unidad de disco centrándose todo en lo digital lo que hace pensar que es algo que tiene en mente para su próxima consola la «NX» aunque también podría significar que pudiera ser un nuevo modelo de Wii U pensado en abaratar sus costes ya que esta consola contara con su propia «unidad visual» cuya descripción coincidiría con la del Wii U GamePad.













